Павлодар, 2021

Типовые трубчатые печи


а) Узкокамерные трубчатые печи с верхним отводом дымовых газов, горизонтальными трубами в камерах радиации и конвекции.

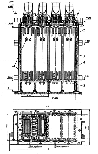
Узкокамерная трубчатая печь с однорядными настенными экранами и свободным вертикальным факелом  с верхним отводом дымовых газов, горизонтальными трубами в камерах радиации и конвекции

Горелки расположены в один ряд в поду печи.

При изменении теплопроизводительности горелок практически не меняется характер эпюры подведенных тепловых потоков на трубный экран.

Обслуживание горелок производится с одной стороны печи, благодаря чему на общем фундаменте можно установить рядом две однокамерные печи, соединенные лестничной площадкой, и таким образом образовать как бы двухкамерную печь.

Предусмотрено семь типоразмеров печей крупноблочной футеровкой из легковесного жароупорного бетона.

Общий вид печи и план расположения фундаментных болтов приведены на рисунке 2.42.

Двухкамерная печь с однорядными настенными экранами и объемно-настильным факелом с верхним отводом дымовых газов и горизонтальными настенными трубными экранами, коробчатая, с горизонтальным расположением труб змеевика в двух радиантных камерах, объемно-настильного сжигания комбинированного топлива.

Горелки  расположены в один ряд на каждой фронтальной стенке под углом 45º. В середине печи установлена стена, разделяющая печь на две одинаковые камеры, на которую настилаются наклонные факелы комбинированного топлива.

1 – лестничная площадка; 2 – змеевик; 3 – каркас; 4 – футеровка; 5 – горелка

 Рисунок 2.42 – Трубчатая однокамерная печь с однорядными настенными экранами и свободным вертикальным факелом

При изменении теплопроизводительности горелок практически не меняется характер эпюры подведенных тепловых потоков на трубный экран.

Обслуживание горелок печи – с двух сторон.

Общий вид печи приведен на рисунке 2.43.

1 – лестничная площадка; 2 – змеевик; 3 – каркас; 4 – футеровка;  5 – настильная стена; 6 – горелка

Рисунок 2.43 – Трубчатая двухкамерная печь с однорядными настенными экранами и объемно-настильным факелом

Двухкамерная печь с излучающими стенами из беспламенных  панельных горелок с центральным двухрядным трубным экраном, с верхним отводом дымовых газов (типа  А2Б2).

Горелки расположены во фронтальных стенах камеры радиации по пять рядов в каждой стене, образуя два противостоящих излучающих блока. Между излучающими стенами установлен трубный экран двустороннего облучения. Трубный экран может быть двухрядным, однорядным, однорядным и двухрядным с переменным шагом.

В целях обеспечения независимого регулирования теплопроизводительности для горелок каждого ряда предусмотрен свой газовый коллектор и, следовательно, теплопередача соответствующему участку радиантного змеевика.

В зависимости от длины труб камеры радиации, имеющей два исполнения (с кладкой из подвесного шамотного кирпича и футеровкой из легковесного жароупорного бетона), печи изготавливают пяти типоразмеров.

Печи данного типа предусматривают беспламенное сжигание чистого обессеренного газа, поэтому вредные выбросы в атмосферу отсутствуют, что позволяет устанавливать дымовые трубы с наивысшей отметкой 25 м.

Общий вид печи, ее разрез и план расположения фундаментных болтов приведены на рисунках 2.44, 2.45.

Рисунок 2.44 – Трубчатая двухкамерная  печь с излучающими стенами из беспламенных  панельных горелок с центральным двухрядным трубным экраном.

1 – футеровка; 2 – каркас; 3 – змеевик; 4 – выхлопное и смотровое окна;  5 – беспламенная газовая горелка; 6 – лестничная площадка.

Рисунок 2.45 – Трубчатая двухкамерная  печь с излучающими стенами из беспламенных  панельных горелок с центральным двухрядным трубным экраном (разрез А-А).

 

Двухкамерная печь настильного веерного сжигания газового топлива с центральным двухрядным трубным экраном, с верхним отводом дымовых газов (типа А2В2).

Конструкции печей А2Б2 и А2В2 аналогичны и различаются только излучающими стенами. В печах типа А2В2 излучающая стена из беспламенных горелок заменена веерными горелками, расположенными в два яруса на фронтовых стенах камеры радиации и образующими два противостоящих излучающих блока.

Трубный экран может быть двухрядным, однорядным и двухрядным с переменным шагом. Меняя теплопроизводительность двух рядов горелок, можно изменять эпюру подведенных тепловых потоков на трубный змеевик.

Отличительной особенностью является также то, что они могут работать на топливном газе переменного состава.

Общий вид печи приведен на рисунках 2.46.

Рисунок 2.46 – Трубчатая печь типа А2В2

б) Секционные коробчатые трубчатые печи со свободным вертикальным факелом.

Печь – узкокамерная коробчатая, с вертикальным расположением труб змеевика, свободного вертикально-факельного сжигания комбинированного топлива.

Комбинированные горелки типов ГГМ и ГП установлены в поду печи. Вертикальные трубы радиального змеевика размещены вдоль по всем четырем сторонам камеры радиации. На стенах камер радиации расположены однорядные настенные экраны, а между камерами радиации – двухрядные экраны двустороннего освещения.

Предусмотрено четыре типоразмера этих печей, каждый типоразмер отличается от другого количеством одинаковых камер радиации. Над каждой камерой радиации расположена своя камера конвекции с горизонтальными гладкими трубами. При работе на жидком топливе в этих печах применение ошипованных труб недопустимо.

Каждая камера конвекции имеет свой газосборник и регулирующий шибер.

Обслуживание горелок – с двух сторон.

Печи футерованы легковесным жаропрочным бетоном.

Общий вид печи и план расположения фундаментных болтов приведены на рисунке 2.47.

1 – змеевики; 2, 6 – выхлопное и смотровое окна; 3 – футеровка; 4 – каркас; 5 – горелка

Рисунок 2.47  – Трубчатая печь типа ВС

 Секционная печь с прямоугольно и горизонтально витым змеевиком, отдельно стоящей конвективной камерой и встроенным воздухоподогревателем, свободного вертикально-факельного сжигания топлива.

Трубный змеевик каждой секции состоит из двух или трех транспортабельных пакетов заводского изготовления. Змеевик каждой секции – самонесущий, установленный непосредственно на поду печи.

Стенки топки собираются из легких рам. Горелки типа ГДК расположены в поду печи в один ряд по четыре горелки в каждой секции.

Печь оснащена радиантными и конвективными змеевиками. Камера радиации может иметь от одной до четырех секций.

Общий вид печи приведен на рисунке 2.48.

1 – вентилятор; 2 – камера конвекции; 3 – лестничная площадка; 4 – газоход; 5 и 6 – выхлопное и смотровое окна; 7 – радиантный змеевик; 8 – трубная решетка; 9 – каркас; 10 – дымовая труба; 11 – воздухоподогреватель; 12 – дымосос

 Рисунок 2.48 – Секционная печь с прямоугольно и горизонтально витым змеевиком, отдельно стоящей конвективной камерой и встроенным воздухоподогревателем, свободного вертикально-факельного сжигания топлива.

 

в) Цилиндрические трубчатые печи с верхней камерой конвекции, вертикальными трубами экрана и горизонтальными трубами конвекции, свободного вертикально-факельного сжигания комбинированного топлива.

Комбинированные горелки расположены в поду печи. На стенах камеры радиации установлены однорядные или двухрядные настенные трубные экраны.

Отвод газов сгорания – через дымовую трубу, установленную на печи, и газосборник.

Предусмотрено два исполнения этих печей: радиационное (без камеры конвекции) и радиационно-конвективное (с камерой конвекции).

Четырехкамерная цилиндрическая печь  с центральной призмой в топке настильным факелом и дифференциальным подводом воздуха по высоте  факела, однорядным настенным и двухрядным межсекционными экранами, вертикальным расположением труб экранов в четырех камерах радиации, настильного сжигания комбинированного топлива.

Комбинированные горелки расположены в поду печи. Оси их наклонены в сторону отражателя-распределителя, установленного в центре печи. Отражатель изготовлен в виде пирамиды с вогнутыми гранями, представляющими собой настильные стены для факелов горелок каждой камеры радиации. Внутри отражатель разделен на отдельные воздуховоды, количество которых вдвое больше количества граней. Каждый воздуховод оснащен поворотным шибером, управляемым с площадки обслуживания.

В кладке граней отражателя на двух ярусах по высоте граней расположены каналы прямоугольного сечения для подвода вторичного воздуха из воздуховодов к настильному факелу каждой грани. Изменяя подачу воздуха через каналы, можно регулировать степень выгорания топлива в настильном факеле, что позволяет выравнивать теплонапряжение по высоте труб в камере радиации.

На стенах камеры радиации установлены однорядные настенные экраны, а между камерами радиации – двухрядные радиальные экраны двустороннего облучения.

При изменении теплопроизводительности горелок в этих печах эпюра подведенных тепловых потоков практически не меняется, однако в каждой из четырех камер радиации можно поддерживать свои среднедопускаемые значения теплонапряжения поверхности труб экрана этой камеры радиации.

Отвод газов сгорания – через дымовую трубу и газосборник.

Предусмотрено изготовление печей четырех типоразмеров.

Общий вид печи и план расположения фундаментных болтов приведены на рисунках 2.49.

д) Цилиндрические трубчатые печи с кольцевой камерой конвекции, вертикальными трубами в камерах радиации и конвекции.

Печи – цилиндрические с кольцевой камерой конвекции, встроенным воздухоподогревателем и вертикальными трубными змеевиками в камерах радиации и конвекции, свободного вертикально-факельного сжигания топлива.

Комбинированные горелки типа расположены в поду печи.

На стенах камеры радиации установлен однорядный или двухрядный настенный трубный экран. Конвективный змеевик так же, как и воздухоподогреватель, набирается секциями и располагается в кольцевой камере конвекции, установленной согласно с цилиндрической радиантной камерой.

1 – камера конвекции; 2 и 3 – выхлопное и смотровое окна; 4 – радиантный змеевик; 5 – футеровка; 6 – корпус; 7 – камера для подвода вторичного воздуха; 8 – футеровка отражателя-распределителя; 9 – воздуховод; 10 – отражатель-распределитель;11 – горелка

Рисунок 2.49  – Трубчатая четырехкамерная печь с центральной призмой в топке настильным  факелом и дифференциальным подводом воздуха по высоте факела, однорядным настенным и двухрядным межсекционными экранами

Отвод газов сгорания – через дымовую трубу и газосборник.

Общий вид печи приведен на рисунке 2.50.

Четырехкамерная печь с центральной призмой в топке, настильным факелом и дифференциальным подводом воздуха по высоте факела, однорядными настенными и двухрядными межкамерными экранами, с вертикальным расположением труб экранов и конвекции, настильного сжигания комбинированного топлива.

Конструктивное исполнение печи может быть с дымовой трубой, установленной на печи; с дымовой трубой, стоящей отдельно.

Дутьевые комбинированные горелки расположены в поду печи. Оси горелок наклонены в сторону рассекателя-распределителя, установленного в центре печи.

1 – каркас; 2 – радиантный змеевик; 3 – конвективный змеевик; 4 – футеровка; 5 – горелка; 6 – воздухоподогреватель

Рисунок 2.50 – Трубчатая однокамерная цилиндрическая печь  с кольцевой камерой конвекции, вертикальными трубами в камерах радиации и конвекции

Рассекатель изготовлен в виде пирамиды с вогнутыми гранями, представляющими собой настильные стены для факелов горелок каждой камеры радиации. Рассекатель выполняет следующие функции: делит объем радиантной камеры на четыре автономные зоны теплообмена, что позволяет осуществлять дифференциальный подвод тепла по длине радиантного змеевика; является поверхностью настила факелов горелок, которые в сравнении со свободными имеют стабильную толщину, что позволяет приблизить трубные экраны к горелкам и сократить объем камеры.

В печи осуществляется двухстадийное сжигание топлива. Первичный воздух (около 70 % объема) подается принудительно к горелкам, а остальное количество – по высоте настила, для чего в кладке граней рассекателя на двух ярусах по высоте граней расположены каналы прямоугольного сечения, а в каркасе рассекателя – отдельные воздуховоды, количество которых вдвое превышает количество граней. Каждый воздуховод оснащен поворотным шибером. Двухстадийное сжигание дает возможность растянуть факелы по высоте граней и повысить равномерность излучения по высоте радиантных труб.

На стенах камеры радиации установлены однорядные настенные экраны, а между камерами радиации – двухрядные радиальные экраны двустороннего облучения.

Конвективный змеевик, как и воздухоподогреватель, набирается секциями и размещается в кольцевой камере конвекции, расположенной согласно с цилиндрической радиантной камерой.

Отвод газов сгорания – через дымовую трубу и газосборник.

Общий вид печи приведен на рисунке 2.51.

1 – вентилятор; 2 – каркас; 3 – дымовая труба; 4 – воздухоподогреватель; 5 – конвективный змеевик; 6 – радиантный змеевик; 7 – футеровка

Рисунок 2.51  – Трубчатая четырехкамерная печь с центральной призмой в топке, настильным факелом и дифференциальным подводом воздуха по высоте факела, однорядными настенными и двухрядными межкамерными экранами