Авторлар
Әдебиет

1 Әр түрлі бағыттағы тамақ өнімдерін өндіру кезінде инновациялық қызметті қалыптастырудың тұжырымдамасы


1.1 Түтікқорапты жылуалмастырғыштар

Мақсатына байланысты түтікқорапты құрылғылар жылу алмастырғыш, тоңазытқыш, конденсатор және буландырғыш бола алады; оларды бір және көп жүрісті етіп жасайды.

Аппараттың осы түрінің артықшылығы: өндірістің қарапайымдылығы; жұмыста сенімділік пен жан-жақтылық; осы типтегі құрылғыларды температура мен қысымның кең ауқымында және жылу тасымалдағыштардың кез-келген тіркесімінде қолдануға болады.

Түтікқорапты құрылғылар бес түрге бөлінеді:

- бекітілген түтік парақтарымен;

- қаптамада температура компенсаторы бар;

- өзгермелі басымен;

- U тәрізді құбырлармен;

- қалқымалы басымен және оған компенсатормен (1.9-сурет).

Түтікқорапты құрылғылардың негізгі құрылымдық элементтері.

Қабықшалы және түтікті жылуалмастырғыштар корпустың ішіне түтіктер мен корпустың осьтері параллель болатындай етіп салынған дөңгелек көлденең қимасы бар құбырларға негізделген. Жылуалмастырғыштардың маңызды құрылымдық элементтері - түтік байламдары, корпустары, кіретін, шығатын және кері камералары, сондай-ақ салқындатқыштар жеткізілетін және шығарылатын салалық құбырлар.

 

 

1.9-сурет – Түтікқорапты ЖАА түрлері

 

Корпустар мен тіректер.

Жылуалмастырғыштың корпусы – жанасатын (араластыратын) аппараттардағы өзара әрекеттесетін салқындатқыш сұйықтықтарды, сондай-ақ жер үсті аппараттардағы түтік шоғырын қамтитын қабық.

Әдетте, корпус цилиндр формалы, оның ішінде жылу алмасу бетінің түтіктері орналасқан және жылу тасымалдағыш айналады. Цилиндрлік қабықшалар кең таралған, өйткені оларды дайындау оңай және материалды ұтымды тұтынылады. Қабықша корпусы тиісті өлшемдегі болат қаңылтыр дайындамаларынан жасалған, олардың шеттері бойлық дәнекерлеу тігісімен біріктірілген. Шағын өлшемді қаптаманы (диаметрі 0,6 м-ге дейін) тиісті ұзындықтағы құбырдың бір бөлігінен жасауға болады. Конденсаторларға, май салқындатқыштарға және эжекторлы салқындатқыштарға арналған корпустар тегіс болат қаңылтырдан жасалған. Аппарат корпусының көлденең қимасының пішіні, ең алдымен, түтік байламының орналасуының қабылдануымен анықталады.

Жылу тасымалдағыш корпусқа кіріс арқылы кіреді және шығыс арқылы шығады. Жалғама құбыр әдетте қаптамаға дәнекерленген стандартты құбырлардан жасалады. Жылу тасымалдағыштың корпустың ұзындығы немесе периметрі бойынша біркелкі таралуы, сонымен қатар түтіктерді ағынның динамикалық әсерінен қорғау қажет болған жағдайда арнайы құрылымдық элементтер қолданылады – концентрлі жарғыштар, бу қалқандары, бу жейделері және т.б. Жалғама құбырларда кіріс және шығыс құбырларын жалғауға арналған фланецтер болуы мүмкін.

Жылуалмастырғыш корпустарда түтік шоғыры мен дененің әр түрлі температуралық созылуынан пайда болатын жылу кернеулері болуы мүмкін. Осы кернеулерді азайту үшін корпусқа линзалар компенсаторлары орнатылған.

Корпустың қабырғаларының қалыңдығы рұқсат етілген кернеулер мәніне, сондай-ақ форманың тұрақтылығына байланысты есептеледі. Қаттылық үшін үлкен корпустар дәнекерленген қабырғалармен күшейтіледі.

Жылу тасымалдағыштарының бірінің конденсациясы бар аппараттағы жылу беру коэффициентін жоғары деңгейде ұстап тұру сақиналық кеңістіктен конденсацияланбайтын газдарды шығаруды талап етеді, ол үшін аппарат корпустары арнайы тармақталған құбырлармен және арматурамен жабдықталған.

Жылуалмастырғыштардың корпустары аппараттардың кеңістіктік бағытталуына, оның салмағы мен өлшемдеріне, сондай-ақ турбиналық қондырғының орналасу орнына байланысты әр түрлі тіректерге орнатылады.

Тегіс түпті қоңдырғыларды тікелей іргетасқа орнатуға болады. Тік аппараттар көбінесе тірек ретінде бөлек аяқтарға ие, олар кем дегенде екі мөлшерде болады, олар корпусқа мықтап жалғанып, арнайы құрылымдарда тіреледі, осылайша аппарат тоқтатылған күйде болады.

Горизонтальды аппараттар корпустың төменгі бөлігінде орналасқан және ажыратылатын немесе аппаратқа берік қосылатын дәнекерленген ер тәріздес тіректеріне орнатылады.

Су камералары.

Су камералары салқындатылатын (қыздырылған) суды жеткізуге және алуға, сондай-ақ оны аппараттардың жылу алмасу бетінің түтіктері бойымен таратуға арналған. Су камералары аппарат корпустарына дәнекерленген немесе фланецті қосылыс арқылы қосылады. Су камераларының көлденең қимасының пішіні түтік байламының орналасуымен және аппарат корпусының өлшемдерімен анықталады және металдағы минималды кернеулерді, сондай-ақ гидравликалық қарсылықтың мүмкін болатын ең төменгі мәндерін қамтамасыз етуі керек. Аппараттағы су өту санына байланысты су камералары соқыр қалқалармен қажетті бөлімдер санына бөлінеді. Су камералары корпус қабықшалары сияқты металдан жасалған.

Жылуалмастырғыштардың су камералары көбінесе дәнекерленеді, бұл корпуспен тұтастығын құрайды, бұл аппараттардың жоғары тығыздығын сақтауға мүмкіндік береді. Бұл жағдайда, әдетте, су қораптарының қақпақтары алынып тасталады.

Цилиндр тәрізді корпустары бар аппараттар үшін корпустың жоғары сапалы байланысын қамтамасыз ету үшін фланецті, эллипс, жарты шар тәрізді және тегіс қабықшалардың диаметрі бойынша стандартталған және бірыңғай қабаттар қолданылады. Төбенің дөңес бөлігінің қабырғасының қалыңдығы, әдетте, түбінің екі бөлігіндегі кернеулер бірдей болатындай етіп, түбінің цилиндрлік бөлігінің қалыңдығына тең алынады.

Сфералық түбі ең кіші есеп айырысу қалыңдығына ие. Алайда, сфералық бастарды өндіру құны ең жоғары болып табылады. Эллиптикалық түбі ішкі қысымға ең жақсы қарсы тұрады, егер олардың меридианальды қисықтары үлкен осі корпус диаметріне тең, ал кіші осі дөңес бөлік биіктігінен екі есеге тең жарты эллипс болады.

Су камерасының қақпақтары судың қысымынан үлкен күштерге ұшырайды. Түбтердің қабырғаларының қалыңдығын азайту үшін су камераларына якорлық байланыстар орнатылады, олар түтік парағының ауытқуын азайтуға да қызмет етеді.

Түтік парақтары мен аралық бөлімдер.

Жылуалмастырғыштардың түтік парақтары жылу алмасу бетінің түтіктерін бекітуге және оларды түтік шоғырына біріктіруге арналған. Түтік парағы – бұл пішіні аппарат корпусының және оның су камераларының көлденең қимасының пішініне сәйкес келетін тақтайша. Жылу алмасу бетінің түтіктеріне арналған тесіктердің саны мен орналасуы түтік байламының қабылданған орналасуымен анықталады. Түтік парағы аппарат корпусына корпусқа дәнекерлеу арқылы немесе қақпақтың болат фланецтері мен корпусының арасында тығыздау үшін тығыздағыштармен қысылып бекітіледі (1.10-сурет).

 

 

а) фланецтар арасында

б) пісірмелеумен

1 – фланец, 2 – тығыздағыш

 

1.10-сурет – Түтік парағын аппарат корпусына бекіту

 

Түтік парақтары су камераларында және сақиналық кеңістіктегі жылу тасымалдағыш қысым айырымынан жүктемеге ұшырайды. Түтік парағына арналған серпімді негіз – корпустың фланецтері және аппараттың жылу алмасу бетінің түтіктері. Сонымен қатар, түтік парағында оны түсіру үшін қызмет ететін анкерлік байланыстар жиі болады, оларды су камераларының қақпақтары қолдайды. Түтік парағының қалыңдығы пластинаның есептелген көлденең қимасының түтіктерге арналған саңылаулармен әлсіреуін ескере отырып және түтік парағының якорлық байланыстармен нығайтылуын ескере отырып, иілу беріктігінің жағдайынан анықталады.

Аралық бөлімдер түтік байламы айналасындағы жылу тасымалдағыш сыртқы ағынын қамтамасыз ететін қажетті әдісті қамтамасыз етеді, түтік байламының қозғалу жылдамдығын арттырады, салбырап, түтіктердің дірілінің жоғарылауын болдырмайды, аппарат корпусын қатайтады, ал тік аппаратта бумен конденсат конденсатты ағызуға және түтіктердегі конденсат пленкасының орташа қалыңдығын азайтуға көмектеседі, бұл өз кезегінде жылу беру қарқындылығын арттыруға мүмкіндік береді.

Аралық бөлімдердің қалыңдығы, әдетте, аппарат түріне және шоғырдағы түтіктердің діріл сипаттамаларына байланысты 8-ден 25 мм-ге дейін болады. Түтіктер өтетін аралық бөлімдердегі тесіктердің орналасуы түтік парағымен бірдей. Тесіктердің диаметрі құбырдың сыртқы диаметрінен 0,2–0,4 мм үлкен болуы керек. Саңылаулардың шеттерін галтельмен дөңгелектеу керек, оларды түтікшелерді аралықтың тесіктеріне ысқылау кезінде олардың тозу жылдамдығын төмендету керек. Түтіктер орналаспаған жерлерде кейде жылу тасымалдағыш сақиналық кеңістіктегі құрылғының ұзындығы бойынша таралуын теңестіру үшін бөлімдермен терезелер жасалады.

Жылуалмастырғыштардың қабық жағына орналастырылған көлденең бөлімдер (1.11-сурет) салқындатқыштың құбырлар осіне перпендикуляр бағытта қозғалуын ұйымдастыруға және қабық жағындағы салқындатқыштың жылдамдығын арттыруға арналған. Екі жағдайда да құбырлардың сыртқы бетіндегі жылу беру коэффициенті артады.

Түтіктер және оларды бекіту әдістері.

Жылу алмасу үстіңгі түтіктері жылуалмастырғыштардың ең маңызды элементтерінің бірі болып табылады. Жылуалмастырғыштарда тікелей, U және П тәрізді, сондай-ақ спиральды түтіктер қолданылады. Қазіргі кезде әртүрлі мақсаттағы жылу алмастырғыштардың көпшілігінде түсті металдардан (жезден және басқа мыс-никель қорытпаларынан) және тот баспайтын болаттан жасалған, сыртқы диаметрі 12-ден 30 мм-ге дейін жіксіз түтіктер жабдықталған. Түтіктердің қабырғаларының қалыңдығы көп жағдайда 1,0-ден 1,5 мм-ге дейін, кейде 0,75 мм қабырға қалыңдығы бар түтіктер қолданылады, ал бу кірісі жағынан түтік шоқтарының шеткі қатарларында кейде 1,5 – 2,0 мм қабырға қалыңдығы бар құбырлар орнатылады, олар үлкен қауіпсіздік пен тозуға төзімділікке ие.

 

 

а) тұтас

б) секторлы ойындымен

в) саңылаулық ойындымен

 

 

г) сегментті ойындымен

д) сақиналы

 

1.11-сурет – Көлденең қалқалардың түрлері

 

Жылу алмасу бетінің түтіктеріне қойылатын маңызды талап –олардың коррозияға төзімділігі. Түтіктердің коррозиясы жылу беру тиімділігін де, жалпы аппараттың сенімділігін де төмендететін фактор болып табылады. Құбырлар екі жағынан да коррозияға ұшырауы мүмкін, мысалы, сумен - салқындатылған су мен будың арқасында - бу мен конденсацияның әсерінен. Коррозия нәтижесінде пайда болатын жарықтар мен жарықтар салқындатқыш (қыздырылған) судың конденсатқа енуіне әкеледі, бұл бірінші кезекте конденсаторлар мен жылыту су жылытқыштары үшін мүлдем жол берілмейді.

Жылу алмасуды күшейту үшін кейде турбулизаторлар қолданылады - құбырлардың сыртқы бетіндегі салқындатқыштың шекаралық қабатын турбулизациялайтын немесе бұзатын элементтер. Тиімсіз жылу тасымалдағыштың (газдардың, тұтқыр сұйықтықтардың) жағынан жылу беруді күшейтуге деген ұмтылыс қанатты түтіктердің әртүрлі конструкцияларын жасауға әкелді. Қабырғалардың ағыны турбулизациялануына байланысты қабырға тек жылу алмасу бетін ғана емес, сонымен қатар қырлы бетінен салқындатқыш сұйықтыққа жылу беру коэффициентін жоғарылататындығы анықталды. Алайда, бұл жағдайда салқындату сұйықтығын айдау құнының өсуін ескеру қажет.

Бойлық (1.12, а-сурет) және бөлінген (1.12, б-сурет) қабырғалары, әр түрлі профильді көлденең қабырғалары бар құбырлар қолданылады (1.12, в-сурет). Құбырларда қабырғалау спираль тәрізді қабырға түрінде (1.12, г-сурет), әртүрлі қалыңдықтағы инелер және т.б. түрінде жасалуы мүмкін

 

 

1.12-сурет –Қабырғалауы бар түтіктер

 

Жылуалмастырғыштардың сенімді жұмысын анықтайтын негізгі факторлардың бірі – түтіктер мен түтік парақтары арасындағы байланыстың тығыздығы мен беріктігін қамтамасыз ету. Түтіктерді түтік парақтарына бекіту герметикалық және ұзаққа жарамдылық аппараттың барлық жұмыс режимдерінде берік болуы керек. Түтік түтіктерінің кавитациялық эрозиясын және гидравликалық қарсылықтың жоғарылауын болдырмау үшін, салқындатқыш судың түтіктерге тегіс енуін қамтамасыз етуі керек, түтік коррозиясын азайту үшін түтік парақтарымен жақсы жанасады, сонымен қатар жөндеу кезінде түтік парақтарына зақым келтірмей оңай ауыстырады.

Қазіргі кезде кеңінен қолданылатын байланыстың үш негізгі түрі бар:

- сынауық парағында түтіктерді домалату (1.13-сурет, а–д);

- түтіктерді түтік парақтарына балқытып біріктіру (1.13-сурет, е–з);

- біріктірілген (біліктеумен балқытып біріктіру немесе балқытып біріктіруден кейін біліктеу (1.13-сурет, и–л).

Отандық зауыттар шығаратын жылуалмастырғыштардың көпшілігінде түтікшелерде түтікті бекітудің бір түрі – біліктеу қолданылады. Мұндай  бекіту – бұл түтік қабырғасы мен түтік парағындағы тесік қабырғасы арасындағы тығыз кернеулі байланысқа дейін домалату арқылы түтіктердің ұшын кеңейту арқылы пайда болатын берік және тығыздалған байланыс. Түтікшелерді біліктеу арнайы құралмен – біліктегішпен жасалады.

 

 

1 – түтік парағы; 2 – түтікше; 3 – балқытып біріктіру; 4 – жалатылған қабат.

 

1.13-сурет – Түтікшелерді түтік парақтарына бекіту тәсілдері

 

Түтіктерді біліктеу кезінде металдың пластикалық деформациясы түтіктің ішкі және сыртқы диаметрлерінің жоғарылауымен жүреді, нәтижесінде түтік пен парақтың аралықтарында серпімді кернеулер пайда болады, олар беріктік пен тығыздықтын байланысын қамтамасыз етеді. Сенімді және тығыз біліктеу байланысын алу үшін белгілі дәрежелі шырайналдыру болу қажет.

Түтік байламдарының орналасуы. Орналасу тұжырымдамасы түтік парағының шекарасында және бу кеңістігінде түтік байламының нақты конфигурациясын, сондай-ақ түтіктердің орналасуын сипаттайтын тұтастықты, тереңдікті және тығыздықты қамтиды. Аппараттың тиімділігі аэродинамикалық қарсылықты минимизациялау тұрғысынан және жылуалмасу процесінің параметрлерінің таралуының біркелкі болуын түтік шоғырының дұрыс таңдалған орналасуына байланысты.

Түтіктердің түтік байламына орналасуы сплит әдісімен және қадамымен анықталады. Түтік шоғырындағы түтікшелерді бұзудың келесі тәсілдері бар (1.14-сурет): шахмат тақтасы және оның ерекше жағдайы – үшбұрыш; дәліз және оның ерекше жағдайы – төртбұрышты; радиалды; концентрлік шеңберге бөлу болып орналасуы. Үшбұрышты бұзылу кезінде түтіктердің осьтері теңбүйірлі үшбұрыштың бұрыштарына орналастырылады, бұл дөңгелек кеңістіктегі салқындатқыш ағыны үшін берілген ағын аймағына арналған түтік парағының көп беріктігін қамтамасыз етеді, бірақ төртбұрышты бұзу, өндіріс технологиясы және аппараттың кейбір техникалық қызметтерін жеңілдетеді.

 

 

а) шахматты

б) үшбұрышты

в) дәлізді

г) төртбұрышты

 

 

д) концентрлік шеңбер бойымен

е) радиалды

 

1.14-сурет – Құбырлардың бұзылу әдістері

 

Бөліну қадамы S – бұл көрші түтіктердің осьтері арасындағы қашықтық. Қадамның азаюы аппараттың өлшемдерінің кішіреюіне әкеледі, бірақ түтік парақшаларының беріктігімен және түтік шоғырының аэродинамикалық және гидродинамикалық кедергісінің мәнімен шектеледі.

Құрылғыларды жобалау тәжірибесінде салыстырмалы қадам түсінігі жиі қолданылады, яғни бөлу қадамының түтіктің сыртқы диаметріне қатынасы. Түрлі жылуалмастырғыштардың конструкцияларын талдау көрсеткендей, түтікшелерді парақтарға бекітудің қазіргі кезде қолданылатын әдістері үшін у мәні 1,25–1,60 аралығында болады.

Шахмат және дәліз бұзылу құбырларының орналасуы көлденең және бойлық қадамдармен сипатталады (S1 және S2). Түтіктердің шахмат тақтасының орналасуының ерекше жағдайы үшбұрышты, егер көршілес түтіктердің осьтері қабырғасы S қадамға тең болатын тең бүйірлі үшбұрыштың шыңдарында орналасқан болса, үшбұрыштың бұзылуы ең жиі кездеседі. Квадраттық орналасу кезінде түтік осьтері S жағы бар квадраттың шыңдарына қойылады, бірақ үшбұрышты орналасуымен сол түтік парағының аймағында бірдей қадаммен шаршы орналасуға қарағанда 15,5 % артық түтіктер орналастырылуы мүмкін. Осылайша, түтіктердің диаметрі мен қадамының бірдей мәндері үшін үшбұрышты бұзылуы бар түтік шоғыры квадратқа қарағанда анағұрлым ықшамды болады.

Аппарат құрылымының ықшамдылығын бағалау үшін меншікті жылу алмасу бетінің мәні – аппараттың көлем бірлігіне арналған беті (түтік ұзындығының 1 м-ге) жиі қолданылады.

Түтік парағының ауданын түтіктерді орналастыру үшін толықтай пайдалану мүмкін емес, өйткені бөлгіштерді, аппараттың айналмалы камераларына якорь байланыстарын, бағыттаушы плиталарды және сақиналық кеңістіктегі құрылымдық элементтер басқаларын орнату үшін түтік парағында бос орын болуы керек.

Көптеген жағдайларда түтік шоғыры бөліктерге бөлінеді, олардың әрқайсысында түтіктердің ішінен ағатын жылутасымалдағыш бағытын өзгертпейді. Бұл бөліктер жүрістер деп аталады.

Түтік шоғырының кеңістіктік конфигурациясы қабықшалы жылутасымалдағыштың ағынының қималарын анықтайды және демек, түтік байламындағы жылдамдық пен қысым өрістерінің таралуына әсер етеді, бұл өз кезегінде жылу эффективтілігінің деңгейін анықтайды. Бірдей жылу алмасу бетімен аэродинамикалық кедергі және жылу берудің әртүрлі мәндері бар түтік шоқтарын жасауға болады. Жылутасымалдағыш ағып жатқан сәуленің перифериясы неғұрлым дамыған болса, сәуленің тереңдігі мен тығыздығы соғұрлым аз болады, жылу беру жағдайлары соғұрлым жақсы болады. Түтік шоғырының орналасуында жылу алмастырғыштың жұмыс ерекшеліктері де ескерілуі керек.

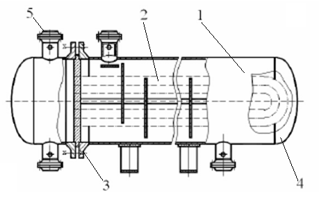
Бекітілген түтік парақтары бар жылу алмастырғыштар. Бұл ең көп таралған сорттар. Жылуалмастырғыш элементтері (қаптама; тарату камерасы және қақпақтар) фланецті қосылыстар немесе дәнекерлеу арқылы бекітіледі.

Бекітілген түтік торлары бар екі жақты көлденең жылу алмастырғыш (1.15-сурет) цилиндрлік дәнекерленген қаптамадан 5, үлестіргіш камерадан 11 және екі қақпақтан тұрады 4. Түтік шоғыры екі түтік парағында 3 бекітілген құбырлармен 7 қалыптасады. Түтік торлары қаптамаға дәнекерленген. Қақпақтар, үлестіргіш камера және қаптама фланецтермен біріктірілген. Корпуста және тарату камерасында жылутасымалдағыш сұйықтықтардың құбырдан (1, 12 штуцерлары) және сақиналы кеңістіктерден (2, 10 штуцерлер) шығуы үшін арматура жасалады. Тарату камерасындағы бөлім 13 жылутасымалдағыш сұйықтықтың құбырлар арқылы өтетін жерлерін құрайды. Бойлық аралықтың түйісетін түтік торымен 3 тығыздау үшін тордың ұясына салынған 14 тығыздағыш қолданылды.

 

 

1.15-сурет – ТН типті екі жақты көлденең жылуалмастырғыш

 

Осы топтың жылу алмастырғыштары 0,6–4,0 МПа номиналды қысыммен, 159–1200 мм диаметрімен, 960 м2-ге дейін жылу алмасу бетімен өндіріледі; олардың ұзындығы 10 м-ге дейін, салмағы 20 тоннаға дейін жетеді. Мұндай типтегі жылуалмастырғыштар 350 °С температураға дейін қолданылады.

Құбырлар айналасындағы жылутасымалдағыштың көлденең ағынымен жылу беру қарқындылығы бойлыққа қарағанда жоғары болғандықтан, жылуалмастырғыштың сақиналы кеңістігінде аппараттың ұзындығы бойынша жылутасымалдағыштың зигзаг тәрізді жылжуын қамтамасыз ете отырып, байланыстармен 5 бекітілген көлденең бөлімдер 6 орнатылады.

Жылуалмасу ортасының сақиналық кеңістікке кіруінде соққы тоқтайтын 9 – құбырларды жергілікті эрозиядан қорғайтын дөңгелек немесе тікбұрышты пластина қарастырылған.

Жылуалмастырғыштар жылутасымалдағыштың құбырлар арқылы өту санымен ерекшеленеді. Біржақты, сондай-ақ екі, төрт және алты жақты жылу алмастырғыштар шығарылады.

Аппараттың осы түрінің ерекшелігі – құбырлар түтікшелермен қатаң байланысқан (1.15-сурет), ал торлар корпуспен байланысқан. Осыған байланысты құбырлар мен қаптамалардың өзара қозғалу мүмкіндігі алынып тасталды; сондықтан осы типтегі құрылғыларды қатты жылу алмастырғыштар деп те атайды. Түтік парағын және корпусты орнатудың бірнеше нұсқалары қолданылады. Бекіту фланецті қосылыс немесе дәнекерлеу арқылы жүзеге асырылады.

Бірінші опцияны қолданған кезде, құбырларды тазарту және ауыстыру үшін құрылғыны оңай жинауға және бөлшектеуге болады. Бұл әдістің кемшілігі мынада: тығыздағыш істен шыққан кезде құбырлар арқылы және сақиналық кеңістікте ағып жатқан салқындатқыштарды араластыруға болады. Бұл төтенше жағдайға әкелуі мүмкін. Жылуалмастырғыштарды пайдалану кезінде максималды алмасуға қол жеткізу үшін аппараттың ішкі қабырғасы мен түтік шоғыры арасындағы минималды алшақтықты қамтамасыз ету қажет. Ол үшін құрылғыларға арнайы толтырғыштарды орнатуға болады, бұл корпусқа дәнекерленген бойлық табақшалар немесе соқыр құбырлар болуы мүмкін.

Артықшылықтары: құрылымының қарапайымдылығы және салыстырмалы түрде арзан.

Кемшіліктері.

1) Құбырлардың сыртқы бетін ластанудан тазарту мүмкін емес, өйткені түтік парақтары денеге мықтап жалғанған. Сондықтан таза жылутасымалдағышты сақиналы кеңістіктерге бағыттаған жөн.

2) Бұл құрылғылардағы түтіктер мен корпустың температурасы арасындағы айырмашылық түтікшемен салыстырғанда түтіктердің көбірек созылуына әкеледі, бұл  түтік торында 5 температура кернеулерін тудырады, түтік кеңеюінің тығыздығын бұзады, қаптамада және бір жылу алмасу ортасының екіншісіне енуіне әкеледі.

Бұған жол бермеу үшін бұл жылуалмастырғыштарды орташа айырмашылығы 50 °C-тан аспайтын және аппараттың салыстырмалы түрде қысқа ұзындығымен пайдалану ұсынылады. Температуралық деформациялардың алдын алу үшін іске қосу ретін сақтау керек. Біріншіден, жылутасымалдағыш сақиналық кеңістікке бағытталуы керек, ал корпус пен құбырлардың температурасын теңестіргеннен кейін жылутасымалдағыш құбырларға бағытталады. Егер жылу алмасу ортасы арасындағы температура айырмашылығы 50 °C-тан жоғары болса, онда температура өтемақысы бар жылу алмастырғыштарды қолдану ұсынылады.

Корпусында компенсаторы бар жылуалмастырғыштар.

Осы типтегі құрылғыларда корпуста кеңейткіштер немесе компенсаторлар орнатылған. Олар дененің екі бөлігінің арасында дәнекерленген. Гидравликалық кедергісін азайту үшін ағызғыштар немесе ағын үлестіргіші қосымша дәнекерленген. Ағызғыштар немесе ағын үлестіргіштер жылутасымалдағыштың кіретін жағынан сақиналы кеңістікке дәнекерленген. Құрылғыларда компенсаторлардың бірнеше түрі қолданылады, олар: объективтік компенсаторлар, екі жарты шар элементтерінің компенсаторлары; жазық параллель сақиналардан; тороидты.

Корпуста компенсатордың болуы құбырлардың кеңеюі мен қысылуы кезінде жылу деформациясын болдырмайды. Компенсациялық элементтердің саны жылу алмасу құралдарының температуралық айырмашылығымен анықталады.

Ең көп таралған бір немесе көп линзалы – линзалық компенсаторлар. Олар екі жолмен жасалады: немесе қысқа цилиндрлік қабықшаларды домалату арқылы немесе штамптау арқылы жасалған екі линзадан дәнекерлеу арқылы. Тороидты кеңейту қосылыстары құбырлардан жасалған, сондықтан оларды жасау оңай және арзан. Кемшілігі - дәнекерлеудің ауыр жұмыс шарттары.

Корпусында линзалық компенсаторы бар түтікқорапты аппарат 1.16 (а) суретте көрсетілген. Мұндай құрылғыларда цилиндрлік қаптама 1 бар, онда түтік шоғыры 2 орналасқан; корпусына 3 жағылған түтіктері бар түтік парақтары бекітілген. Екі ұшында жылу алмастырғыш қақпақтармен 4 жабылған. Аппарат жылуалмасу орталарына арналған  арматурамен 5 жабдықталған; бір орта түтіктер арқылы, екіншісі сақиналық кеңістік арқылы өтеді. Температура компенсаторы бар жылу алмастырғыштарда бекітілген түтік парақтары бар және олардың температураларының айырмашылығынан туындайтын қаптама мен түтіктердің созылуындағы айырмашылықты өтеу үшін арнайы икемді элементтермен  (линзалар) 6 жабдықталған.

Көбіне TK типті құрылғыларда қысқа цилиндрлік қабықтардан домалату арқылы жасалған бір және көп элементтерді линзалы компенсаторлары қолданылады (1.17-сурет). 1.17 (б) – суретте көрсетілген линзалы элементі парақтан алынған екі жартылай линзадан штамптау арқылы дәнекерленген.

Көлденең құрылғыларға линзалар компенсаторын орнатқан кезде, құрылғының гидравликалық сынақтарынан кейін суды ағызу үшін әр линзаның төменгі бөлігінде тығындары бар дренаждық тесіктер бұрғыланады.

 Артықшылықтары: сақиналы кеңістікте тоқырау аймақтары жоқ, бұл жылуалмастырғыштардың тиімділігін арттырады. Ағынның біркелкілігін арттыру үшін ағын үлестіргіштері орнатылады. Компенсаторлары бар жылу алмастырғыштарды пайдалану тасымалдағыштардың температурасын 70 градусқа дейін арттыруға мүмкіндік береді.

Аппараттың қолдану аясы қысыммен шектеледі (артық қысым 2 МПа-дан аспайды).

 

 

а) қаптамада линзалы компенсатормен; б) қалқыма басты

 

 

в) U-типті құбырлармен

 

1 – қаптама; 2 – түтіктер; 3 – түтік торы; 4 – қақпақтар; 5 – штуцер; 6 – линзалы компенсатор; 7 – U тәрізді түтіктер; 8 – қалқыма бас.

 

1.16-сурет – Қабықшалы және түтікті жылуалмастырғыштардың негізгі түрлері.

 

U тәрізді түтікшелері бар жылуалмастырғыштар.

Бұл аппараттың түтік шоғыры бір түтік парағына бекітілген U тәрізді түтіктерден жасалған және корпусқа салынған (1.16 (в)-сурет). Құбырлардың ішіне және сыртына шығуы бойлық қалқамен бөлінген тарату камерасы арқылы жүзеге асырылады. Осылайша, аппарат түтік кеңістігінде екі, ал сақиналық кеңістікте бір немесе екі бағытта жасалады. Аппараттың осы түріндегі әр құбырды басқа құбырлардан және қаптамадан тәуелсіз ұзартуға болады, осылайша температура кернеулерінің толық өтелуін қамтамасыз етеді. Түтік парағында температура кернеулері құбырлардың кірісі мен шығысындағы жылутасымалдағыш температурасының айырмашылығына байланысты пайда болуы мүмкін. Сондықтан, осы типтегі құрылғылар үшін жолдар бойындағы температура айырмашылығы 100 градустан аспауы керек.

 

 

а) бір линзалы

б) екі жарты линзадан дәнекерленген

в) екі линзалы

 

1.17-сурет – Компенсаторлар

 

Осы типтегі жылуалмастырғыштар көлденең және тік болуы мүмкін. Олар диаметрі 325–1400 мм, ұзындығы 6–9 м құбырлармен, номиналды қысым үшін 6,4 МПа дейін және жұмыс температурасы үшін 450 °C дейін шығарылады. Жылуалмастырғыштардың массасы 30 тоннаға дейін.

Жылутасымалдағыш сұйықтығының бөлек кірісі мен шығуын қамтамасыз ету үшін тарату камерасында бөлім қарастырылған.

Құрылғыларда түтік парағын корпусқа және үлестіру камерасына бекіту кезінде пробирканы тормен ажыратуға мүмкіндік беретін, тығыны бар шпильканы қолдануға болады.

U-тәрізді құбырлары бар қондырғыларда құбырлардың температураның кеңеюі қамтамасыз етіледі: әр құбыр қаптамаға және іргелес құбырларға тәуелсіз кеңейе алады. Бұл құрылғылардағы өтпелер бойындағы құбыр қабырғалары арасындағы температура айырмашылығы 100 °C аспауы керек. Әйтпесе, түтік парағында оның екі бөлігінің түйіскен жеріндегі температураның секіруіне байланысты қауіпті температуралық кернеулер пайда болуы мүмкін.

Артықшылықтары:

1) температуралық кернеулердің толық өтелуі;

2) құбырларды тазарту және ауыстыру үшін түтік байламын алу мүмкіндігі, бірақ бұл құрылғылардағы құбырлардың сыртқы бетін механикалық тазалауға қолайсыз.

Құбырлардың ішкі бетін механикалық тазарту іс жүзінде мүмкін емес болғандықтан, механикалық тазалауды қажет ететін шөгінділер түзбейтін осындай құрылғылардың ортасын құбыр кеңістігіне бағыттау қажет.

Бұл құрылғылардағы құбырлардың ішкі беті сумен, бумен, ыстық мұнай өнімдерімен немесе химиялық реагенттермен тазаланады. Кейде гидромеханикалық әдіс қолданылады (құрамында абразивті материал, қатты шарлар және т.б. бар сұйық ағынның құбыр кеңістігіне жіберу).

Кемшіліктері:

1) осы типтегі құрылғыларда құбырлардың бетін механикалық тазалау мүмкін емес, сондықтан олар гидромеханикалық тазартуды, су буымен тазартуды, сондай-ақ ыстық мұнай өнімдерін немесе түрлі химиялық реагенттерді қолданады;

2) шеттерінен басқа аппараттың жеке түтіктерін ауыстырудың мүмкін еместігі. Бұл құбырларды аппаратқа орналастырудың күрделілігіне байланысты, әсіресе олардың көптігі;

3) олардың иілуіне байланысты құбырлардың сапасыз толтырылуы;

4) ортаға толтырылған құбырлардың үлкен массасынан туындаған иілу кернеулерінің пайда болуына байланысты құбырларды түтік парағымен қосу бұрышының қысымын төмендету мүмкіндігі; бұны болдырмау үшін диаметрі 800 мм-ден асатын аппаратта түтік шоғырын тіреу үшін роликті тіректер қолданылады.

Осы кемшіліктерге байланысты осы типтегі жылуалмастырғыштар кең қолданыста болған жоқ.

Қалқыма басты жылуалмастырғыштар.

Қалқымалы басы бар жылуалмастырғыштар (жылжымалы түтік парағымен) беткі аппараттардың кең таралған түрі болып табылады (1.18-сурет). Аппараттың бұл түрінде түтік шоғыры екі түтік парағында бекітіледі. Бір тор корпуспен мықтап жалғасқан, ал екіншісі қақпақпен жабылған және аппарат ішінде қозғалатын қалқымалы бас құрайды. Осыған байланысты, бұл құрылғылар температуралық кернеудің толық өтелуіне қол жеткізеді.

Осындай құрылысындағы құрылғыларда температуралық кернеулер тек түтіктердің температурасында айтарлықтай айырмашылық туындауы мүмкін.

Осы топтың жылуалмастырғыштары Pу = 1,6–6,4 МПа шартты қысымы үшін, дене диаметрі 325–1400 мм және 10–1200 м2 қыздыру беттері үшін құбыр ұзындығы 3–9 м стандартталған, олардың массасы 35 тоннаға жетеді. Жылуалмастырғыштар 450 °C дейінгі температурада қолданылады.

 

 

1.18-сурет – Көлденең екі жақты қалқыма басты конденсатор

 

Осы типтегі жылуалмастырғыштарда түтік шоғырлары корпустан салыстырмалы түрде оңай алынып тасталуы мүмкін, бұл оларды жөндеуді, тазалауды немесе ауыстыруды жеңілдетеді.

Көлденең екі өткізгішті конденсатор қабықшадан 10 және түтік шоғырынан тұрады (1.18-сурет). Сол жақ түтік торы 1 қаптамаға және бөлгіш камераға 2, арақабырғамен бөлінген 4 фланецті түрде орнатылған. Камера жалпақ қақпақпен жабылған 3. Оң жақ жылжымалы түтік парағы корпустың ішіне еркін орнатылып, бірге «қалқымалы бас» құрайды оған қақпақ 8 бекітілген. Қалқымалы бас орналасқан жағынан құрылғы қақпақпен жабылады 7. Түтіктер қыздырылғанда және ұзартылған кезде жүзбелі бас корпус ішінде қозғалады.

Диаметрі 800 мм және одан жоғары құрылғылардағы түтік шоғырының корпус ішіндегі еркін қозғалысын қамтамасыз ету үшін, түтік шоғыры тіреуіш платформасымен 6 қамтамасыз етілген. Жоғарғы штуцер 9 бу айдау үшін арналған, сондықтан үлкен ағын аймағына ие; төменгі штуцер 5 конденсатты ағызуға арналған және оның мөлшері кішірек.

Конденсация кезіндегі маңызды жылу беру коэффициенттері ортаның қозғалу режиміне байланысты емес. Бұл аппараттың сақиналық кеңістігіндегі көлденең қалқандар тек құбырларды ұстап тұруға және түтік байламына қаттылық беруге қызмет етеді.

Құрылғыларда температуралық деформациялар үшін жақсы өтемақы беретін болса да, бұл өтемақы толық емес, өйткені түтіктердің температуралық кеңеюіндегі айырмашылық түтік парағының бұзылуына әкеледі. Осыған байланысты диаметрі 1000 мм-ден асатын көп өтпелі жылуалмастырғыштарда түтік байламындағы ортаның кірісі мен шығысы арасындағы температура айырмашылығы (100 °C-тан жоғары), әдетте, өзгермелі бастың бөлінуі диаметрі орнатылған.

Қалқымалы жылуалмастырғыштың ең маңызды бөлігі – қалқымалы түтік парағының қақпаққа қосылуы. Бұл байланыс қаптаманы, аппараттан оңай шығару мүмкіндігін, сондай-ақ корпус пен түтік байламы арасындағы минималды алшақтықты қамтамасыз етуі керек. Қалқымалы бас денеге екі жолмен орналастырылуы мүмкін:

1) қаптаманың диаметрі қақпақтан үлкен болған кезде. Бұл дизайнды пайдалану және құрылғыны орнату және бөлшектеу оңай. Бірақ бұл жағдайда түтік байламы мен аппараттың корпусы арасында үлкен алшақтық алынады, бұл жылу беру жағдайының нашарлауына әкеледі. Осы схема бойынша бекіту ең қарапайым; ол бу кеңістігін буландырғыштарда жиі қолданылады;

2) қаптаманың диаметрі қақпақтың диаметрінен аз болған кезде. Бұл қаптама мен түтіктер арасындағы саңылауды өзгермелі бас фланецінің еніне азайтуға мүмкіндік береді. Сонымен бірге, аппаратты бөлшектеу кезінде қиындықтар туындайды (1.19 (б)-сурет). Бұл жағдайда түтік байламын шығару үшін түтік парағын және өзгермелі басын бекітудің бірнеше нұсқалары қолданылады. Ең жиі қолданылатын опциялар - фланецтер мен фланецті кронштейндер.

1.19 (а) суретте көрсетілген түтік байламын алуға мүмкіндік береді, бірақ саңылау қалқымалы бас фланецінің ені үшін үлкенірек (TH типіндегі жылуалмастырғыштарға қарағанда).

 

 

а) үлкен диаметрлі қаптамада; б) кіші диаметрлі қаптамада

 

1.19-сурет – Қалқымалы басты орналастырудың нұсқасы

 

Қалқымалы түтік шоғыры әсіресе бу камераларының буландырғыштарында қолданылады.

Бұл құрылғыларда буландыру айнасының үлкен беті жасалуы керек, сондықтан буландырғыш корпусының диаметрі түтік шоғырының диаметрінен едәуір асады, ал бумадағы қалқандар оның қаттылығын жоғарылатуға ғана қызмет етеді. Буландырғышта (1.20-сурет) корпустағы сұйықтықтың деңгейі 11-ге бөлінеді. Бу кеңістігінің жеткілікті көлемін қамтамасыз ету және булану бетін ұлғайту үшін сұйықтық деңгейінен корпустың жоғарғы жағына дейінгі арақашықтық оның диаметрінің шамамен 30 % құрайды. Түтік шоғыры 3 буландырғыш корпусында көлденең бөренелерде 4 орналасқан.

Түтік шоғырын орнатуға ыңғайлы болу үшін, бөлімде 2 және сол жақ төменгі бөлігінде люк 10 қарастырылған, ол арқылы шығырдан кабельді аппаратқа енгізуге болады. Өнім буландырғышқа саптама 5 арқылы енгізіледі; Түтік шоғырын эрозиядан қорғау үшін штуцердің үстінде қаққыш 6 орнатылған, булар штуцер 9, өнім – штуцер 1 арқылы шығарылады, Жылутасымалдағыш түтік шоғырына құйылады және  штуцерлер 7, 8 арқылы шығарылады. Осындай құрылғыларға бірнеше түтік шоғырлары орнатылады.

 

 

1.20-сурет – Буландырғыш

 

Қалқымалы басы бар және оған компенсатор орнатылған жылуалмастырғыштар.

Қалқымалы басы мен компенсаторы бар жылуалмастырғыштар жартылай қатты құрылғылар болып табылады. Осы типтегі құрылғыларда температура кернеулерін ішінара өтеу қарастырылған. Ол үшін аппараттың қақпағында орналасқан ұзартылған штуцердің ішіне орналастырылған қалқымалы басына компенсатор орнатылған. Осы типтегі құрылғылар бір реттік. Жылутасымалдағыш сұйықтықтардың қозғалыс бағыты қарсы ағым болып табылады.

Осы типтегі қондырғылар жоғары қысым кезінде қолданылады  (5–10 МПа). Компенсатор қақпақта орналасқан штуцерге қарама-қарсы ұшымен байланысты. Аппараттың құрылымы құбырларды тазартуға және олардың күйін тексеруге арналған түтік байламын алуға мүмкіндік береді. Компенсатор корпусында компенсаторы бар, гофры көп және қабырғасының қалыңдығы аз құрылғыларда қолданылатынымен ерекшеленеді. Пайдалануды шектеу, бұл қысымның 2,5 МПа аспайтын төмендеуі. Сондықтан, аппаратты іске қосқанда, жылутасымалдағыш бір уақытта құбырларға және сақиналық кеңістікке түседі.

Бұл конструкцияның жылу алмастырғышының (1.21-сурет) жоғарыда қарастырылғаннан айырмашылығы, оның қақпағында 2 ұзартылған штуцердің (мойынның) 3 болуы, оның ішінде компенсатор 4 орналасқан, ал соңғысы бір ұшында қалқымалы арқылы қосылған басы 1, екіншісі жылуалмастырғыштың қақпағына орнатылған. Жылуалмастырғыштың қалған қондырғыларының құрылымдары қалқымалы басы бар құрылғыларда қолданылатындарға ұқсас.

 

 

 

1 – қалқымалы бас; 2 – қақпақ; 3 – штуцер; 4 – компенсатор

 

1.21-сурет – Қалқымалы басы және компенсаторы бар жылуалмастырғыш.