Авторлар
Әдебиет

1 Әр түрлі бағыттағы тамақ өнімдерін өндіру кезінде инновациялық қызметті қалыптастырудың тұжырымдамасы


1.6 Иректүтікті жылуалмастырғышты қоңдырғылар

Иректүтікті жылуалмастырғышты қоңдырғылар – бұл жылу алмасу беті жылу алмастырғыштың корпусында орналасқан көлемді немесе жалпақ иректүтіктер түрінде жасалған және катушканың түтік кеңістігіне жоғары қысымды салқындатқыш жіберілген құрылғылар. Бұл құрылғылар химиялық, мұнай-химия, газ, сондай-ақ салқындатқыш және тамақ өнеркәсібінде қолданылады. Осы типтегі жылуалмастырғыштар катушканың еркін созылуының нәтижесінде температуралық кернеулердің орнын толтыратын қатаң емес конструкциялы құрылғылар ретінде анықталады.

Иректүтікті жылуалмастырғышты қоңдырғылардың классификациясы.

Бұл құрылғылар мақсатына қарай, салқындатқыш сұйықтықтардың жиынтық күйіне және олардың салыстырмалы қозғалу схемасына сәйкес, жылу алмасу элементтерінің конфигурациясы мен бағытталуы бойынша, орналасуы мен орналасу түріне сәйкес, табиғатына сәйкес жіктеледі. жылулық байланыс.

Технологиялық тұрғыдан алғанда, бұл қабық пен түтік рекуперативті жылу алмастырғыштар.

Орам конфигурациясы бойынша:

- жалпақ спиральмен (1.35-сурет, а);

- зигзаг тәрізді(1.35-сурет, б);

- көлемді цилиндрлік пішінді (1.35, в-сурет);

- конустық пішінді (1.35-сурет, г).

Кеңістіктегі жылу алмасу элементтерінің бағыты бойынша:

- иректүтіктің көлденең орналасуымен;

- иректүтіктің тік орналасуымен;

- иректүтіктің көлбеу орналасуымен.

Жылу алмасу элементтерінің орналасуы бойынша:

 - корпустың ішіне орнатылған ішкі иректүтікпен;

- денеде орналасқан сыртқы иректүтікпен.

Ереже бойынша, ішкі жылу алмасу элементтері бар құрылғыларды суға батыру деп атайды, ал сыртқы құрылғыларымен - сыртқы иректүтікпен жылуалмастырғыштар.

 

 

1.35-сурет – Иректүтікті жылу алмастырғыштарының жылу алмасу элементтері

 

Иректүтіктің өту саны бойынша – бір және көп өтпелі (көп элементті).

Жылуалмасу элементтерінің жылу тасымалдағышпен жылу байланысының сипаты бойынша:

- суға батқан;

- суару.

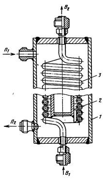
Иректүтіктер жылу алмастырғыштарының құрылымдары.

Орамдық жылу алмастырғыштың құрылымы 1.36-суретте көрсетілген. Құрылғыда иректүтік 3 немесе иректүтік жүйесі орналасқан корпус 1 бар. Орамның бұрылыстары бұрандалы сызық бойымен бағытталған. Жылу алмасу бетінің үлкен ауданы бар ұзындықтағы катушкалар бірнеше секциялардан алынады. Көп бұрылыстармен және үлкен диаметрлі ораммен құбырлардың ауытқуын болдырмау үшін әр бұрылыс тіректерге бекітіледі.

Жылуалмастырғыштағы жылу тасымалдағыштардың қысым айырмашылығы 10 МПа дейін жетуі мүмкін.

Көп бұрандалы катушка аппаратында бұралған құбырлар түтік парақтарына ұштарымен дәнекерленген. Жылу беру беті ішкі барабан мен қаптама арасындағы сақиналы кеңістікте спираль сызығы бойында орналасқан көптеген иректүтіктердн тұрады. Жылу тасымалдағыштардың бірі иректүтіктің құбырлары ішінде қозғалады.

 

 

1.36-сурет – Өндірістік маңызы бар бір элементті иректүтікті жылу алмастырғышы