Авторлар
Әдебиет

2 Технологиялық пештер


2.5 Радиациялық-конвективті типті пештер

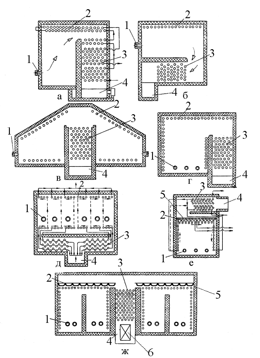
Радиациялық конвективті типтегі пештер ең көп қолдануды тапты. 2.33-суретте түтін газының төменгі бұрылуы және құбырлардың көлденең орналасуы бар радиациялық-конвективті пештер көрсетілген.

  2.33 (а) суретте көрсетілген пеш реакциялық-жылыту пеші ретінде қолданылады. Төбенің жоғарғы экраны екі қатарлы. Құбырлардың екінші қатары реакциялық аймақ ретінде қолданылады.

  Түтін газдарының температурасын төмендету үшін конвективті катушканың алдында түтін газынан ішінара түтін сорғымен алынған түтін газдарын қайта өңдеу қарастырылған.

  Жылыту пештерінде төбелік, пештік және бүйірлік экрандар әдетте бір қатарлы (екі жақты сәулелену экранынан басқа) орындалады. 2.33 (б) суреттегі пештің құрылымдық ерекшелігі радиациялық камераны конвективті камерадан бөлетін көлденең қабырғаның болуы болып табылады.

Көлбеу күмбезі бар екі камералы пеште (2.33-сурет (в)) және бір қатарлы төбелік және төменгі экрандарда жалпы конвекция камерасы бар. Көлбеу доғаның мақсаты-төбелік экранның жылу жүктемелерін теңестіру. Пеш әртүрлі қыздыру режимдерімен немесе екі өздігінен реттелетін ағындармен бір уақытта екі өнімді өңдеу үшін қолданылады. Шағын қуаттылықтарда бір көлбеу күмбезі бар бір камералы пештер салынады.

 

 

1 – саптама; 2 – радиантты құбырлар; 3 – конвективті құбырлар; 4 – дымоходы; 5 – жинақ; 6 – ауа жылытқышы.

 

2.33-сурет – Сұйық және газ тәрізді отынмен жұмыс істеуге бейімделген құбырлардың көлденең орналасуы бар радиациялық-конвективті үлгідегі пештер (көлденең қималар)

 

2.33 (d) суретте конвективті камераның төменгі орналасуы бар алты бұрандалы құбырлы пеш көрсетілген. Жанармайдың жану өнімдері пештің астынан көтерілген бір қатарлы экран арқылы өтеді, тармақталады және қарама-қарсы екі жағынан құбырлардың конвективті сәулесіне түседі. Пеш экранының тіректері конвективті сәуленің торларына бекітіледі.

2.33 (е) суретте көрсетілген пеште отынның жану өнімдері екі қатарлы төбелік экраннан өтіп, пештің жоғарғы жағында орналасқан конвективті түтік сәулесіне түседі. Төбелік құбырлардың жоғарғы қатарында саңылаулары бар пішінді отқа төзімді кірпіш төселген, бұл құбырлардың екінші қатарындағы газдармен жақсы жууға көмектеседі. Пеш өнімнің бір немесе екі ағынын жылытуға арналған.

Пештерде (2.33-сурет (а, б, в)) форсункалардың осі радиантты құбырлардың осіне перпендикуляр. Пештерде (2.33-сурет (д, е, г, ж)) Саңылаулар мен құбырлардың осьтері параллель болады, бұл жылу кернеуінің құбырлардың ұзындығы бойымен біркелкі бөлінбеуіне әкеледі.

Төрт камералы пеш (сурет 2.33 (ж)) жылытылатын өнімнің екі немесе одан да көп ағынын жылытуға арналған. Жану өнімдері бір қатарлы төбелік экран арқылы өтеді, онда пішінді отқа төзімді кірпіш саңылаулармен салынған.

2.34-суретте (а, б) алау осі тік орналасқан тар камералы пештер көрсетілген. Бұл пештер газ тәрізді немесе аралас газ сұйықтығы отынында жұмыс істейді, өйткені пештің ортаңғы бөлігіндегі сұйық отынға арналған саптамалардың орналасуы оларды күтіп ұстауды қиындатады. Конвективті камераның жоғарғы орналасуы түтіннің биіктігін 10–20 м-ге дейін төмендетуге мүмкіндік беретін газ өткізгіштің кедергісін төмендетеді, тарту конвекциялық камераның Үстінен бір-бірінен 3–6 м қашықтықта орнатылған бір немесе бірнеше құбыр арқылы жүзеге асырылады. Сонымен қатар, конвективті камераның жоғарғы орналасуы жану өнімдерінің табиғи (төменнен жоғары)қозғалысын қамтамасыз етеді.

2.34 (б) суреттегі пештің айрықша құрылымдық ерекшелігі-5 бөлетін қабырғаның болуы. Жанармай жағылғаннан кейін, алаудың бір бөлігі жылу шығара бастайтын бөлгіш қабырғаға қойылады. Бұл көлемді алауы бар пештер.

2.34 (в, г) суретте көрсетілген пештерде екі жақты сәулеленудің екі қатарлы экраны және төменгі (2.34 (в) суреті) немесе конвективті камераның жоғарғы орналасуы болады. Пештің қыздырғыштарының осьтері (2.34-сурет (в)) кейбір бұрыштарда орналасқан, соның арқасында жалынның бір бөлігі жылу шығара бастайтын пештің бүйір қабырғаларына қойылады. Бұл едендік алауы бар пештер.

 

 

1 – газ жанарғылары; 2 – радиациялық құбырлар; 3 – конвективті құбырлар; 4 – пештен шығатын газдар; 5 – бөлетін қабырға

 

2.34-сурет – Құбырлардың көлденең орналасуы бар радиациялық-конвективті типтегі пештер

 

2.35-суретте көрсетілген пеш құбыр катушкасының тік орналасуына және екі жақты жылытудың бір қатарлы экранына ие. Пеште-пештің екі жағында төрт құбырдың сегіз жолы. Жолдар арасындағы қашықтық – 3 м пештің бүкіл биіктігі бойынша құбырлардың әр екі қатарының арасында, сондай-ақ құбырлардың шеткі қатарлары мен соңғы қабырғалар арасында саптамалар бір-бірінен 800–1000 мм қашықтықта орнатылады.

 

 

1 – саптама; 2 – құбыр катушкасы; 3 – конвективті құбырлар; 4 – шығу; 3 – құбырлардың конвективті сәулесі; 4 – түтін құбыры.

 

2.35-сурет – Екі жақты жылытудың бір қатарлы экраны және құбырлардың тік орналасуы бар радиациялық конвективті типтегі құбырлы пеш.

 

Құбырларды жөндеу үшін биік құрылыстың қажеттілігі металдың меншікті шығынын (пештің жылу өнімділігінің бірлігіне металл шығынын) арттырады.

2.36-суретте жалынсыз типтегі панельді қыздырғыштардан сәуле шығаратын қабырғалары бар тік пештердің схемалық диаграммалары көрсетілген. Сәулелі қабырғалар 0,6–1,0 м қашықтықта құбыр экранына жақын орналасады, ең аз қашықтық құбырлар мен қыздырғыштардың керамикасын тексеру және жөндеу үшін өту жолымен анықталады. Панельді қыздырғыштарда газ отыны жанады, нәтижесінде панель қызады және сәуле көзі болады. Жанған газдар қыздырғыштардан шығып, құбыр экранынан өтіп, конвективті сәулеге түседі. Радиациялық камерада жылу беру қыздырылған қабырғалар мен газдардан, сондай-ақ газдардан конвекция арқылы жүзеге асырылады.

Екі жақты жылытудың екі қатарлы экраны бар пештерде төрт өнімді бір уақытта қыздыруға болады, бірақ екіден көп ағындар санының артуымен рұқсат етілген және нақты жылу кернеулерінің сәйкестігін қамтамасыз ету қиын.

 

 

а)конвективті сәуленің жоғарғы орналасқан пеш

б) конвективті сәуленің төменгі орналасқан пеш

в)екі конвективті сәуленің төменгі орналасқан пеш

г)қосымша бүйірлік экрандары бар пеш

 

1 – құбыр катушкасы; 2 – сәулелі қабырға; 3 – газ коллекторы

 

2.36-сурет – Екі жақты жылыту экраны және құбырлардың көлденең орналасуы бар пештер

 

2.36 (в) суретте көрсетілген пеште екі конвективті камера бар, бұл газдардан экранға конвекция арқылы жылу берудің әсерін айтарлықтай төмендетеді.

Пештің сәулелі қабырғалары (2.36-сурет (г)) қыздырғыштардың ауыспалы қатарынан және қыздырғыштың биіктігімен бірдей биіктіктегі қарапайым кірпіштен тұрады. Пештегі екі жақты жылытудың орталық екі қатарлы құбыр экранынан басқа, жанарғылардың әр қатары арқылы екі қатарлы экрандар кірпіш деңгейінде орнатылады. Олар орталық экранға қарағанда радиациямен аз жылу алады, бірақ бұл газдардан конвективті сәулеге өткен кезде жылу беру арқылы өтеледі. Әйтпесе, пештің пештен еш айырмашылығы жоқ (сурет 2.36 (а)). Қарастырылып отырған пештің ұзындығы мен шеңбері бойынша құбырлардың біркелкі қызуы бойынша жылу техникалық көрсеткіштері пештерге тең, бірақ құбыр экранында жылу беруді жақсы реттеу мүмкіндігінен төмен.

2.37 (а) суретте көрсетілген пеште бір қатарлы зигзаг көлденең экраны бар. Сәулелену қабырғалары құрастырылады чередующихся қатарлар жанарғыларды және қалау. Әр кірпіш қатарының биіктігі –500–600 мм, яғни. қыздырғыштың биіктігіне тең немесе сәл жоғары.

 

 

1 – құбыр катушкасы; 2 – сәулелі қабырға; 3 – отын газының коллекторы

 

2.37-сурет – Екі жақты жылытудың бір қатарлы экраны және құбырлардың көлденең орналасуы бар пештер.

 

2.37 (а) суретте көрсетілген пеш 2.36 (а, б, в, г) суретте көрсетілген пештерден құбыр экраны арқылы жылу беруді жақсы реттеу мүмкіндігіне ие.

Қыздырылған өнімнің бір бұрандалы қозғалысы кезінде Радиант катушкаларының барлық құбырлары тек түтік қосқыштарымен қосылады. Өнімнің N құбыр қатарларына екі бұрандалы қозғалысы кезінде (n – 1) бұрыштық қосарланған қосылыстар болады.

Пеш (сурет 2.37 (в)) көкжиекке 13° бұрышпен бір-біріне параллель орналасқан бірнеше қатарлы экрандарға ие. Таңдалған көлбеу бұрышының мәні құбырдың шеңбері бойымен жылудың біркелкілігінің максималды коэффициентіне сәйкес келеді. Құбыр экрандарының арасында аспалы кронштейндерге жиналған қалаумен кезектесетін оттықтардың бір қатарынан орнатылады. Шығарылған қабырғалар арасындағы қашықтық 2,4 м құрайды, ол құбырдың шеңберін қыздырудың біркелкілік коэффициентінің максималды мәніне сәйкес келеді.

Осы типтегі пештерде жылу кернеуін құбыр экраны арқылы реттеу қыздырғыштардың тиісті қатарының жылу өнімділігін өзгерту арқылы жүзеге асырылады. Дегенмен, мұнда қиын жүзеге асыруға нәзік реттеуді бергіштік қарағанда пештерде келтірілген суретте 2.36 (а, б, г).

Пеш (2.37-сурет (в)) пештен (2.36-сурет (а)) ерекшеленеді, өйткені екі қатарлы пештің орнына екі жақты жылытудың бір қатарлы экраны орнатылған.

2.38-суретте бір қатарлы қабырға экраны бар және конвективті сәуленің бүйір немесе орталық орналасуы бар пештер көрсетілген. Пеште (2.38-сурет (а)) радиациялық камерадағы газдар жоғарыдан төмен, ал конвективті камерада-төменнен жоғары қозғалады. Түтін мұржасы пештің жоғарғы жағына конвективті түтік шоғырының үстіне орнатылады. Пеште (2.38 (б) суретте) радиациялық камерадағы газдардың ағыны табиғи, төменнен жоғары, бұл 2.38 (а) суреттегі пешпен салыстырғанда қолайлы.

2.39-суретте көрсетілген пеш екі бөлімнен тұрады және пештердің басқа түрлерінен құбырлардың тік орналасуымен ерекшеленеді. Түтін құбыры секциялар арасында орналасқан және конвективті камераларға тікелей қосылған. Конвективті құбырларды біркелкі жылыту үшін түтін құбыры мен камераларды қосу құбырдың бүкіл биіктігі бойынша жүзеге асырылады. Бұл пештің бір бөлімі пештің дизайнынан (2.36 (г) суретте) құбырлардың тік орналасуымен ғана ерекшеленеді.

2.40 (а) суретте көрсетілген тік пеште екі жақты сәулелендіру экранын қолдану төсеме жалынның принципін пайдаланумен үйлеседі. Бұл типтегі пештер бір камералы немесе көп камералы болуы мүмкін. Саңылаулар әдетте пештің доғасының астында орналасады, ал конвекция камерасы төмен түседі.

 

 

а) конвективті камераның бүйір орналасуымен және радиантты камерадағы газдардың төмендейтін ағынымен пеш

б) конвективті камераның бүйір орналасуымен және радиантты камерадағы газдардың көтерілетін ағынымен пеш

в)конвективті камераның орталық орналасуымен және радиантты камерадағы газдардың көтерілетін ағынымен пеш

г) конвективті камераның орталық орналасуымен екі қабатты пеш

 

1 – құбыр катушкасы; 2 – қыздырғыштардың радиациялық қабырғасы; 3 – газ коллекторы; 4 – конвективті камера.

 

2.38-сурет – Бір қатарлы қабырға экраны және құбырлардың көлденең орналасуы бар пештер

 

 

1 – құбыр катушкасы; 2 – сәулелі қабырға; 3 – түтін құбыры

 

2.39-сурет – Екі қатарлы екі жақты жылыту экраны және құбырлардың тік орналасуы бар пеш (жоспар)

 

Екі жақты сәулелену экраны бар пештің түрі жану процесін катализдейтін керамиканың арнайы сорттарынан жасалған жалынсыз жанудың газ жанарғылары бар тік пеш болып табылады. Пеш-бұл екі жақты сәулелену экраны бар тар камера, оның бүйір қабырғаларында керамикадан жасалған көптеген саңылаулар орнатылған (2.40-сурет (б)). Пештің бұл дизайны оны икемді етеді, өйткені ол жылу жүктемелерін экранның биіктігі мен ұзындығы бойынша кең көлемде реттеуге мүмкіндік береді.

 

 

2.40-сурет – Екі жақты сәулелену экраны бар тік пештер

 

Цилиндрлік тік құбырлы пештерде қабырғаның ішкі бетінде бір немесе екі қатарға тігінен орналастырылған құбыр катушкасы бар. Конвективті камера жоғарғы жағында орналасқан және оның құбырлары қабырғалы болуы мүмкін (қабырға коэффициенті 3,2–3,5). Мұндай пештерде аралас газ-мазут отыны қолданылады.