Основная часть
1 Расчет и выбор оптимального профиля заготовки из круглого сортового проката
2 Проектирование и производство заготовок способами ОМД
3 Проектирование отливок в разовых песчаных формах
Приложение А
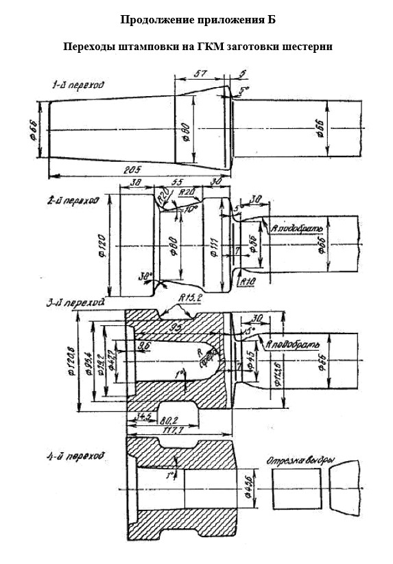
Приложение Б
Приложение В
Презентационная лекция
Основные понятия и характеристики заготовок
Выбор способа получения заготовок
Проектирование и проихводство литых заготовок
Проектирование заготовок из проката
Проектирование и производство деталей из пластмасс
Производство заготовок типовых деталей
Авторы
Литература
◄
►
Приложение Б